我们在使用电子设备的时候经常头疼的一个问题恐怕就是充电问题,很多与硬件相关的设备会周期性的耗尽电源,然后需要重新连接电源进行充电或者更换电池,如果我们当时正在进行紧急的工作或者操作就会觉得非常不便,因为这个过程最少也会浪费几分钟的时间。所以大家都迫切的希望能够有一种功能或技术能够为电子设备无线充电。
2017年9月13日,苹果公司公布新款充电板,名叫AirPower(空中能量),它比起市面上大多数无线充电器更加激进,除了能同时为 iPhone、Apple Watch、AirPods 等设备提供无线充电功能之外,AirPower 还允许设备随意铺放在充电垫正面的任意位置。
虽然目前AirPower还未正式发布,但是据传是因为AirPower商标权的问题,而苹果公司近日也找到了解决方法,想必AirPower很快就会推出,详情可查看《AirPower商标被抢注,苹果公司要花大价钱买回来》。
但是对于键盘鼠标这类硬件设备来说,目前还没有一个比较好的无线充电方式,但是近日有消息称苹果公司正在在研发一种无线供电技术,能够短距离为键盘和鼠标等外设供电。
在美国专利商标局(US patent and Trademark Office)周四公布的一份专利申请中,苹果在专利中就提出“带有射频天线的无线充电系统”这一概念,试图解决短距离无线供电的问题。苹果的解决方案不是要设备接近充电板的充电线圈,而是允许在一定的短的距离内进行无线供电。

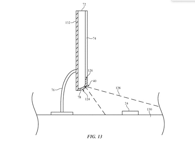
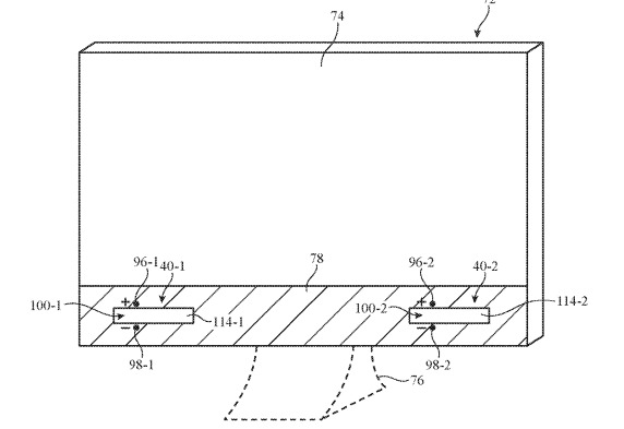
像iMac或显示器这样的主机设备可能在显示器下方具有较低的空腔,该空腔容纳用于发送电力的发射天线。键盘或鼠标等会接收设备上的辅助天线,将接收来自发射器的信号,该信号将被馈送到整流器电路并转换成将用于给电池充电的电压。
苹果设想发射器可以采用矩形孔的形式暴露导电外壳,以及天线,天线全部由透明覆盖层覆盖以保护用户。接收设备也可以具有类似的腔,或者使用“倒F天线”以及保护材料。
显示器上的位置可以理想地用于对附近物品充电,因为它可以成角度以覆盖桌子的区域而不会使用户直接暴露于其传输区域。 iMac可能不一定仅限于一个发射器,因为苹果建议在左下角和右下角各使用一个发射器,增加覆盖区域。

除了短距离无线充电,远距离无线充电的想法也已经在其他地方进行了试验,例如,Powercast在2017年12月展示了它的远距离充电技术,声称距离可达80英尺以外。
苹果公司之前也考虑过这个想法,根据2017年的一项专利申请,“无线充电和双频贴片天线通信系统”。在那份专利文件中,苹果提出了如何在合适的无线链路上传输电能,包括蜂窝网络和Wi-Fi,这意味着未来数据和电能可以使用相同的单一传输方式。理论上,也就是说,Wi-Fi路由器能够在一定距离内为设备充电。
本文版权为赛贝知识产权平台(www.saibeiip.com)所有,转载请在显著位置注明来源。





刷新