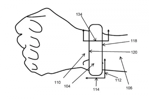
近期根据美国专利商标局公布的信息,苹果本周刚刚获得一项专利技术,这个技术可以让设备支持血压测量的能力。虽然这份专利当中并没有提到苹果任何现有的设备,但从申请图片看,这个设备是一个腕带式的产品,所以不排除未来使用在Apple Watch设备上面,只要做到足够的集成,那么Apple Watch完全可以用来测量血压。

近年来,各大商业巨头们的专利申请量逐年增加,安永生命科学部门发布的一份最新研究报告显示,从2013年到2017年,Alphabet、微软和苹果总共申请了超过300项与健康医疗有关的专利。其中,Alphabet申请的专利数最多,达到186项;微软和苹果在这段时间内分别申请了73项和54项专利。这意味着,这三家科技巨头提交的与健康有关的专利申请每两年就要增加38%。
关于申请医疗专利大家了解多少呢?申请医疗专利有什么好处?如何办理医疗专利申请呢?要弄清楚申请医疗专利的好处,首先要明确申请医疗专利的原因。
申请医疗专利的原因:
1、通过法定程序确定发明创造的权利、归属关系,从而有效保护发明创造的成果。
2、在市场竞争中争取主动,确保自身生产与销售的安全性,防止竞争对手恶意状告侵权。
3、国家对专利申请有一定的扶持政策。
4、在医疗领域,医疗专利申请一旦通过,可以将此专利看成是科研成果。在评职称、申请课题项目时专利成果是加分项。
这四点原因其实可以总结为一句话就是:名利最大化。
申请医疗专利的具体好处有哪些呢?
1、专利的产生是基于创新,专利的申请成功是对个人和企业创新的认可。
2、专利是一种无形资产,具有巨大的商业价值,是提升企业竞争力的重要手段。
3、专利有前瞻性,即理论上可以形成,但是由于受现有技术、材料、工艺等方面限制而形成不了的,也能申请专利。这样在竞争中不但能够促进自身的发展、还能够限制竞争对手发展。
4、专利的质量与数量是企业或者是个人创新能力的体现,是个人科研能力的体现,也是企业核心竞争能力的体现,是企业在该行业身份及地位的象征。
5、企业或者个人都可以通过应用专利制度获得长期的利益回报。
6、如果个人不能将专利孵化产品,可以通过专利转让或者其他形式与企业合作,获得双赢。
明确了申请医疗专利的重要作用,我们再来看看该如何办理医疗专利申请。
医疗专利申请的流程:
第一步:发明人整理创新想法,准备技术交底书
技术交底书可以确定专利申报的有效性。大致包含以下内容:
1、发明专利请求书
2、摘要
3、摘要附图(适用时)
4、说明书
5、说明书附图(如果有)
6、权利要求书
第二步:进行专利检索
通过专利检索,保证专利撰写内容的新颖性,提高专利授权的概率。
第三步:签订知识产权服务协议
与第三方知识产权服务企业签订协议,企业帮助申请人完成后续申报工作。
第四步:专利代理人初审技术交底书,和发明人沟通确认材料无误;代理人撰写申请文件,经过客户确认后上报专利局
专利代理人根据技术交底书(可能需要和发明人多次沟通),确认发明人要表达内容的准确性,然后才开始动笔撰写申请文件。
第五步:专利局受理并进行专利审查
专利局受理发明专利之后,主要审查程序有:初步审查、公布、实质审查等。
第六步:申报人修改和补正
在审查过程中,如果发现申请文件存在缺陷,审查员会要求申请人进行修改或者补正,申请人也可以在规定的时间内主动提出修改,克服申请文件中的各种缺陷。
第七步:授权公告
专利局经过审查后,正式授予专利权,并进行公告。
随着经济的发展,科学技术水平的逐步提升,医疗行业专利的的申请量越来越大,赛贝知识产权平台专利顾问提醒大家,申请医疗专利前,可咨询专业的专利代理公司,对专利进行查询检索,提高专利申请的成功率。





刷新