紧急通知:接USPTO于2025-04-14日下发的公告,从2025-04-17日起暂停美国外观专利申请的加速审查业务,以解决激增560%的案件压力,以及微实体造假的问题。
云端知识产权大平台
您的位置:首页>知产百科>商标百科

中国速度!2018年度热词TOP5居然全都申请注册商标了!

发布日期:2018-11-19 作者:赛贝知识产权平台

近日,新浪微博发布2018年度热词,“确认过眼神”“skr”等热词上榜,根据往年的数据,网络热词一向受商家们追捧,喜欢把它们注册商标,因为这次词汇本身就具有高热度和高传播量,能够快速获得市场关注,不需要商家们投入太多的市场宣传费用。那么对于2018新鲜出炉的这些热词又是怎么样呢?赛贝小编去查了下,果然热词TOP5都被申请注册商标了,而且申请注册的人还不少,一起来看看吧。


2018年度热词TOP1:确认过眼神,是遇到对的人


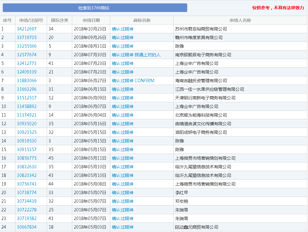
这句话是来自林俊杰的一首《醉赤壁》中的歌词,早在10年前林俊杰和方文山合作创作了这首歌,但在当时不是很火。但估计林俊杰怎么也没想到,10年后这首歌因为这句歌词在抖音上因某网红的传唱给带火了,再渐渐演变到现今大众喜欢说的“确认过眼神,是xxx的人,给广大的网友发挥的空间。


赛贝小编通过商标查询,检索到37件商标,基本上商标注册申请提交时间集中在2018年5月-9月,商标注册类别中35类、43类比较热门。


确认过眼神


2018年度热词TOP2:Skr


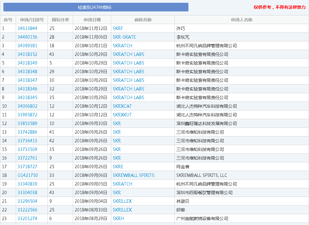
“Skr”这个词是网络流行词汇,相当于中文中的“赞“、”牛逼”的意思。其起因也很搞笑,是在综艺《中国新说唱》中吴亦凡将拟声词误用成形容词,引发大众追捧和逗笑的模仿,所以它其实也没有官方明确的定义。


和“skr”有关的商标就厉害了,赛贝小编查到了247个商标结果,2018年新申请的就有98个。有单独申请“skr”的,也有申请“skr”相关的词汇的,比如skr-skate,大概看了下这个“skr”商标的总体申请情况,大概有1/3申请成功了,还有部分待实质审查以及其它个人或者公司刚申请的。


Skr


2018年度热词TOP3:一首凉凉送给你


这个相信很多人知道这个梗,因为去年年初火热的电视剧《三生三世十里桃花》带火了片尾曲《凉凉》,之后莫名就给网友们延用到当某人遭遇到某事时,表示心疼TA,就会说点一首《凉凉》送给你,也有很有网友在自己遭遇到糟心的事情也会说点一首凉凉送给自己。或者当某事失败没有回转的余地时也可以用凉凉表示这件事的结果。


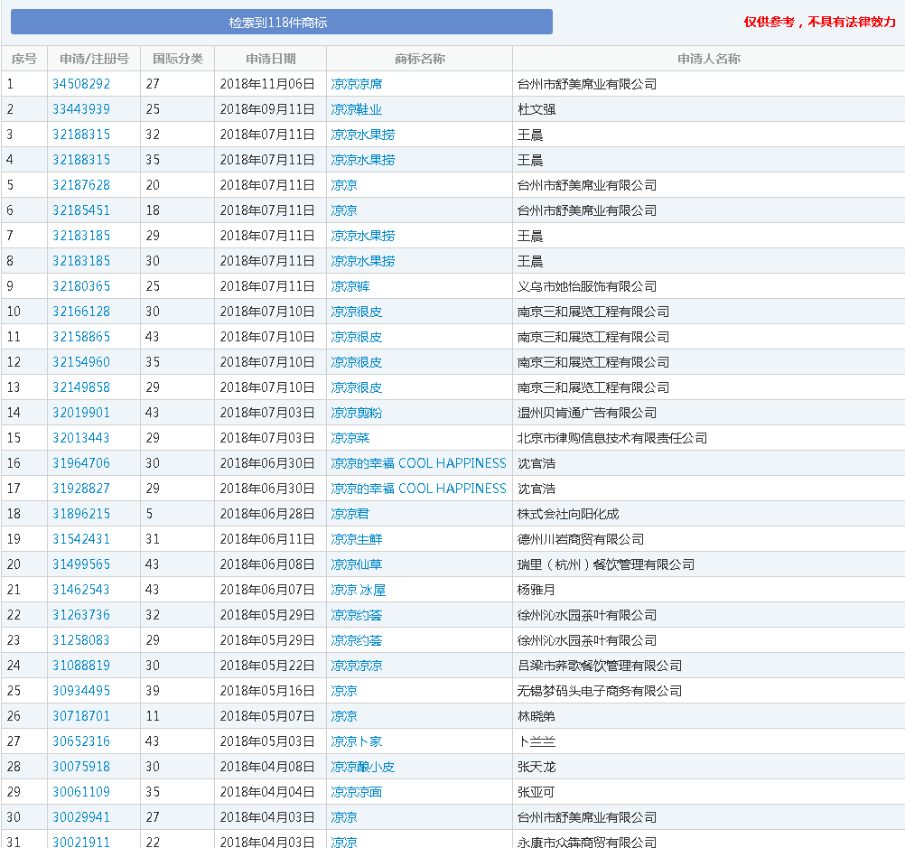
“凉凉”这个词随着《三生三世十里桃花》的热播也受到了全名追捧,对于这个词,赛贝小编检索到118件相关的商标,有单独申请注册“凉凉”的,也有注册“凉凉水果捞”“凉凉凉面”等与“凉凉”相关的行业的商标,其中35类、29类等都是热门注册类别。


凉凉


2018年度热词TOP4:C位出道


这个词厉害啦,出自爱奇艺一档综艺选秀节目——《偶像练习生》,其中C代表的是英文“Center”中心的意思,代表有实力的人,并且通过自己的努力站在的团队的中心,成为大众的焦点。而节目播出过程中“蔡徐坤 C位出道”这个话题也一直保持了很高的热度。


关于“C位出道”这个词,可能由于相关的行业不是很明显,赛贝小编检索到11个结果,主要是酒业企业和食品企业居多,关注较多的商标类别为29类和30类。


C位出道


2018年度热词TOP5:家里有矿


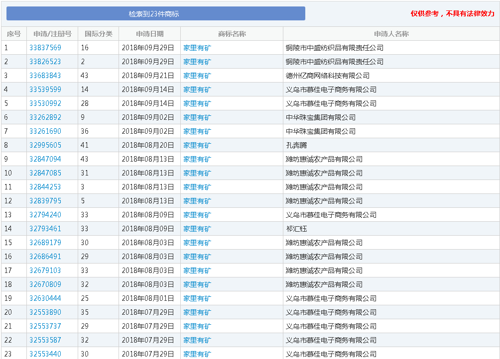
这个词最早源自赵本山老师的表情包,原梗出自电视剧《马大帅》,原话是“啥家庭啊,家里有矿啊?”形容别人很有钱,或者是吐槽不知道节俭很败家的人。


关于该词的商标申请,已有23条申请记录,申请该商标注册的企业类型大多为纺织品公司、电子商务公司以及农产品公司,其中33类和29类商标比较受欢迎。


家里有矿


看了这些网络热词商标注册情况,大家有没有觉得非常有趣?虽然用网络热词注册商标可以在前期省掉一部分市场宣传费用,但是有些词汇如果跟自己的行业根本就不沾边,强行注册下来估计也起不到很好的宣传效果,毕竟关联性太差,消费者也很难在看到商标的第一时间想到你的产品。而且网络热词的热度会随着时间推移而逐渐减弱,这对于商标来说可不是一件好事儿,所以虽然用网络热词注册商标有一些好处,但是赛贝知识产权平台还是建议大家根据自己的企业和业务类型,注册一个有意义、又独特的商标,不仅能有相关的企业内涵,而且还不容易跟别人撞商标,何乐而不为呢?


本文版权为赛贝知识产权平台(www.saibeiip.com)所有,转载请在显著位置注明来源。


深圳市鼎言知识产权代理有限公司 版权所有
联系电话:18823759043   网站导航
Copyright © 2016 粤ICP备20057469号