2019年4月1日,日本官房长官菅义伟宣布,“令和”被选为日本新年号,令和一词,出自《万叶集·梅之花之歌·序文·32首》中的“于时初春令月,气淑风和”,蕴含了在人们的美丽心灵相互靠近之中,文化诞生并成长的含义。当今天皇签署了改元政令,在当天颁布。该政令将伴随4月30日天皇退位,在皇太子即位成为新天皇的5月1日凌晨0点起施行。

而这次的“改元”和1989年日本从“昭和”时代进入“平成”时代相比,似乎天然具备了“网红”属性。日本首相官邸官方账号首次对年号宣布进行了推特和YouTube的网络直播,超过80万人收看,新年号公布后两小时内,有关新年号“令和”的推特投稿数达到了450万条,4月2日推特上关于“令和”和“reiwa(令和的罗马文)”的贴文也在短短一小时内超10万条,热度堪与安室奈美惠引退宣言媲美。
围绕“令和”做文章的日本企业也不少,在4月1日新年号公布后,日本福岛县会津坂下町酿酒厂“丰国酒造”当天便开始销售以新年号“令和”命名的纯米吟酿酒,限量300瓶。4月2日上午,在东京涩谷区销售艺术糖果的Papabubble青山店内,想购买带有“令和”字样糖果的顾客排起长队。日本百货商场高岛屋开始销售纪念令和元年出生的婴儿服装、以及刻有“平成”和“令和”字样的纯金金币等。甭管什么商品,带上“令和”二字就自带新时代属性,突出一个高大上,值得至尊VIP拥有。
但是这些日本企业的盘算可能行不通,日本政府早就料到会有大批人注册“令和”商标,他们也早就做好了防范措施。日本特许厅1月修改根据《商标法》的商标审查标准,禁止使用新旧年号注册商标,并就此提醒公众。
因为一旦进行商标注册,个人或企业就能垄断商品和品牌名称的使用。公众辨识度或他人及企业尚未注册成为判断标准。因此,诸如“令和馒头”、“令和兴业”等新年号“令和”与公司形态、商品名称的单纯组合无法获批。而“明治控股”和“大正制药”等则因广为人知,作为例外得以注册。
但是日本防得住自己国家的企业,可管不着中国人啊。日媒近日发现,新年号“令和”早在去年10月就已在中国被注册为酒类产品商标。
通过商标查询可发现,早在2017年11月16日,“令和”就被作为日本酒、和葡萄酒等商品的商标进行了申请。专用权期限为2018年10月21日至2028年10月20日,注册人为刘夕珍。商标所属类别为国际33类,即清酒、米酒和葡萄酒、威士忌等。而该注册人除“令和”之外还注册了大量由2个汉字组成的商标。

业内人士表示,上述酒类商标是早先注册的,与日本年号无关,理论上并不构成抢注行为。但是,注册人应该负有注意使用的义务,即在使用时不应该直接或者间接赋予其政治含义。至于今后申请注册“令和”商标能否获批,要看中国国家知识产权局商标局的态度。
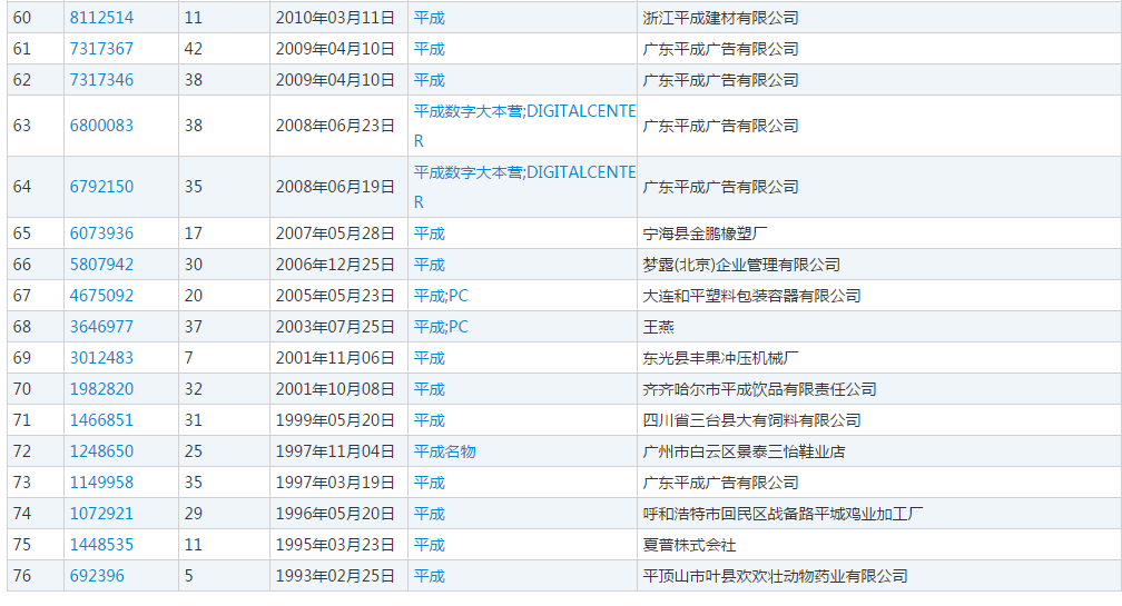
抛开“令和”,在“令和”之前,日本247个年号,均引自中国文献。例如:“平成”年号来自《尚书·大禹谟》中的“天平地成”,此前的“昭和”年号来自《尚书·尧典》中的“百姓昭明,协和万邦”,“大正”取自《易经·临》中的“大享以正,天之道也”;而“明治”的出处则是《易经·说卦传》“圣人南面而听天下,向明而治”。而这些年号在我国大多数都有被注册成商标。

当然,并非我国商标注册喜欢蹭热度,关键是汉字就那么多,我国商标取名又偏爱两个汉字组合,所以对此而言,“蹭热度”的可能性真的不高。
但是赛贝小编相信以中国人的敏锐度,绝对不会错过“令和”这个充满话题和热度的商标,这几天一定会有很多人提交“令和”商标注册申请,由于信息差,当前商标局并没有显示,过几天,咱们再查一次瞧瞧,到底有多少人抢注!
本文版权为赛贝知识产权平台(www.saibeiip.com)所有,转载请在显著位置注明来源。






刷新