近日,有网友反映称浙江义乌一家永和豆浆的员工直接用手搅拌豆浆,视频中可以清晰看到,该门店作人员没有戴任何手套之类的隔离物品就直接将整个手伸入装有满满豆浆的容器里,不停地搅拌豆浆。

此消息一出,立刻引发大众对于食品安全卫生方面的讨论和热议,以及对于永和豆浆品牌方面的质疑。对于这一事件,永和豆浆官方也迅速作出回应,永和豆浆官方微博称,系失实报道,并发布《严正声明》表示,该门店是假冒的永和豆浆门店,目前永和食品(中国)股份有限公司在浙江省义乌市无永和餐饮门店。
该声明称,永和豆浆门店销售的豆浆和餐品,都是由永和食品的生产工厂统一生产和配送至门店的。而网传假冒门店在露天中用手搅拌制作的豆浆严重违反国家食品安全法。

看到这则消息,赛贝小编首先想到的就是真假鲍师傅事件。
2018年5月,长江日报点名指出武汉一家挂着“鲍师傅”招牌的糕点店存在雇人排队现象,随后一家微博名为"@鲍师傅总部",署名为北京易尚餐饮管理有限公司的微博账号发出道歉声明。
本以为只是简单一桩雇人排队的违法营销事件,没想到剧情最后还来了个神转折,另一家微博名为"@鲍师傅糕点Pastry",署名为鲍才胜餐饮管理有限公司的微博账号也发出声明,并召开了新闻发布会说明,武汉雇人排队的山寨店为北京易尚餐饮管理公司的侵权加盟店,并非北京鲍才胜餐饮管理公司旗下门店。
据了解,发声的双方一方为北京易尚餐饮有限公司,其标志为带有头像的鲍师傅,另一方为“鲍师傅糕点Pastry”,属于北京鲍才胜餐饮管理有限公司,其标志仅有“鲍师傅”三个楷体字。目前,北京易尚这家公司不仅手握“鲍师傅”“鲍师傅糕点”的商标,还同时注册了“金拱门”“原麦丰秋”“沙县轻食”等打了擦边球的商标。在抢注商标的同时,两家企业去年也曾对簿公堂,互相起诉对方侵权,由此,这一网红品牌维权陷入罗生门,各执一词。详情可查看《从鲍师傅打假维权浅谈网红餐饮企业商标保护的正确姿势》。
同样是一件公关危机事件引发的真假品牌纠纷,同样是两个侵权假冒的店面,只不过真假鲍师傅案中北京易尚餐饮有限公司还注册有一枚“鲍师傅”商标,而永和豆浆案中另外那家店面则是实实在在的侵权假冒。
永和豆浆泛指台湾新北市永和区中正桥一带以贩卖豆浆为主的早餐店,约1950年左右,由山东和河北的两位老兵首先开始经营。“永和豆浆”品牌是1982年由台湾弘奇食品有限公司创立餐饮业知名品牌,1995年跨过台湾海峡,来到大陆发展。经过数十年的发展,永和豆浆遍布中国大江南北,已成为消费者信赖和喜爱的品牌,并逐步发展成为台湾饮食文化的一张名片。
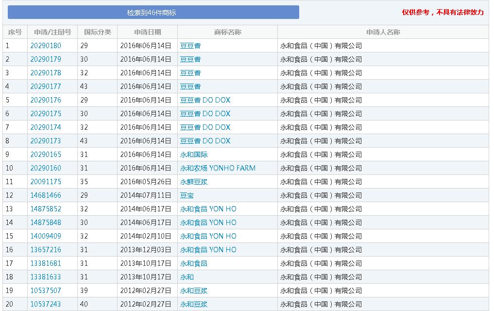
通过商标查询可发现,“永和豆浆”方面的商标注册申请共有57件,其中有15件商标是永和食品(中国)有限公司申请注册的,商标名称主要是“永和豆浆”和“永和食品 YON HO”。

而永和食品(中国)有限公司提交的商标注册申请一共有46件,除了上文的“永和豆浆”和“永和食品 YON HO”之外,还有“豆豆香”、“豆豆香 DO DOX”“永鲜豆浆”、“永和农场 YONHO FARM”、“永和食品”等多个商标,商标注册类别也是涵盖第29类、第30类、第35类、第32类、第31类等多个类别。可见永和豆浆对于商标保护还是比较全面的。

《中华人民共和国商标法》第五十二条,规定了五种侵犯注册商标专用权:
1、未经商标注册人的许可,在同一种商品或者类似商品上使用与其注册商标相同或者近似的商标的。该条又可分成四种商标侵权的形式:
2、销售侵犯注册商标专用权的商品的;
3、伪造、擅自制造他人注册商标标识或者销售伪造、擅自制造的注册商标标识的;
4、未经商标注册人同意,更换其注册商标并将该更换商标的商品又投入市场的。这种行为又称之为“反向假冒”。
5、给他人的注册商标专用权造成其他损害的。
而上文中假冒永和豆浆进行商业行为的店面明显就是未经永和豆浆允许,擅自使用了永和豆浆的商标,这是明晃晃的商标侵权行为,依据法律,永和豆浆是可以依法维权的。
近年来,餐饮行业被侵权被山寨的现象屡屡发生,究其原因,都是因为没有做好商标注册和保护工作,赛贝小编也曾为大家分享多一些相关案例,详情可查看《盘点那些在商标问题上吃了大亏的网红餐厅》。
那么餐饮企业究竟该如何做好商标注册和保护工作呢?赛贝小编来为大家支招:
一、商标注册要尽早
我国商标法以申请在先为原则,谁注册在先,谁就享有商标权,商标属于「不可再生资源」。因此,公司成立之初,一定要先关注商标,尽快寻找专业的商标代理公司进行商标检索工作,如未检索到相同或类似的商标,建议尽快将心仪的商标注册下来。
二、商标类别要全面
鉴于商标注册采用分类保护原则,企业在注册商标时,不要仅仅局限于自身的产品类别,在相关的类别及未来可能涉及的相关领域类别也要进行注册,不要等到商标被侵权了,才被动地去维权。
三、注意留存商标使用证据
商标的生命在于使用,注册商标成功后并非万事大吉,随时都存在被撤销的风险,因此,要定期收集自己使用商标的证据。
四、做好商标监控
企业法务要积极关注商标局官方数据的更新,发现任何与自身产品相关的类别有近似商标申请的,可以在公告阶段提出异议;
五、关注市场,及时维权
对于已发现的侵权店面,公司法务部门可以发律师函警告、协商解决;协商不成的,向工商部门提出行政查处或向司法部门提出诉讼申请,不要将希望完全寄托在工商机关去为我们维权。
最后,赛贝小编提醒大家,商标被假冒进行维权的过程比较复杂,对于什么是相同相似商标,这些不好直接判断,建议在发生纠纷后尽快找个律师帮忙固定证据,通过法律途径维权。
本文版权为赛贝知识产权平台(www.saibeiip.com)所有,转载请在显著位置注明来源。






刷新