连锁加盟的发展,已成了国内近几年来最为引人注目和关切的业态。采用加盟的方式能让自己最短时间里拥有商标、技术以及制作方法等,帮助自己节省开店过程中繁重的工作。然而“加盟神话”年年的上演,有些以喜剧收场,但是大部份都是悲剧收场一“财去人空”。近日,乐山的一家奶茶店老板就遇到了这个问题。
老板娘文莉刷抖音刷到琉璃鲸,于是把这家网红奶茶店开进了乐山沐川县城。两个月前,她通过加盟四川百宏盛餐饮管理有限公司,成为品牌加盟商,被“授权”使用“琉璃鲸 The Whalet Tea”的“字样”,用于门头、牌匾。尴尬的是后来竟然发现自家的菜单和观察竞争对手“鹿角巷”几乎一模一样,而后发现,加盟公司居然没有注册“琉璃鲸”的商标,难道是遇上了骗子公司?
琉璃鲸奶茶爆火于2018年,该奶茶将冰淇淋和奶茶融合,并极力打造自己的特色,注重奶茶颜值,创造出独特的网红爆款。例如前不久为大家津津乐道的“五粮液冰淇淋”就是他们推出的,关联文章《琉璃鲸网红冰激凌涉嫌侵犯五粮液商标权,五粮液却准备轻轻放过》。

在餐饮行业,一个品牌或者一个产品火起来后,山寨产品就会层出不穷,琉璃鲸也不例外。
通过商标查询可发现,“琉璃鲸”相关的商标有137个,最早申请注册的是南京力合琉璃鲸餐饮管理有限公司,并且在第32类已经注册成功,用于啤酒、矿泉水(饮料)、无酒精饮料、果汁、 奶茶(非奶为主)等产品上。

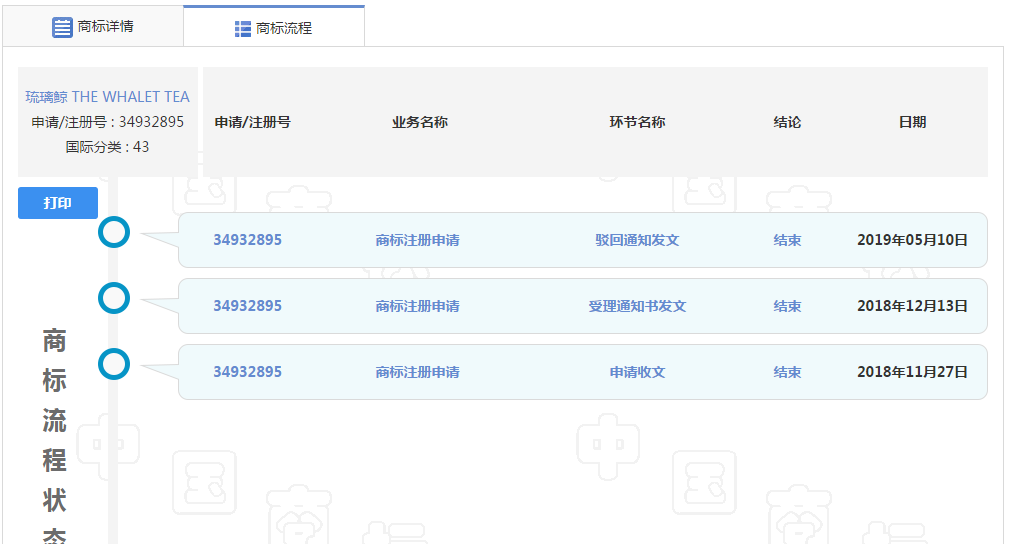
而文莉加盟的琉璃鲸奶茶属于四川百宏盛餐饮管理有限公司,该公司于2018年11月27日申请注册了43类“琉璃鲸”商标,用于“住所代理(旅馆、供膳寄宿处)、饭店、 酒吧服务、备办宴席、活动房屋出租、 养老院、日间托儿所(看孩子)、动物寄养、 出租椅子、桌子、桌布和玻璃器皿、茶馆等商品服务上。

四川百宏盛餐饮管理有限公司给出的解释是,“加盟时曾经把情况给文莉说清楚,我们挂的TM标,不是R标,意思正在注册中,是个网红项目,有任何问题可以换商标。现在全国上千家琉璃鲸,不低于30家公司在做,都是没有商标的,都是正在注册中的TM,也可以正常开店。”
而四川百宏盛餐饮管理有限公司申请注册的“琉璃鲸”商标已经于2019年5月10日被驳回,目前没有看到驳回复审的动作。

对此,四川百宏盛餐饮管理有限公司负责人则表示双方已经说明,才会在后来签订“财富双保险”,即有问题可以更换为公司旗下的其他品牌,该公司旗下还有“鹿角戏”、“雪域冰城”、“津茶”、“御恋烧仙草”4个奶茶品牌,均是市面上常见的奶茶产品。但是通过查询发现,百宏盛只拥有“津茶”的商标专用权,“鹿角戏”、“雪域冰城”、“御恋烧仙草”的商标申请名列里并无该司。
那么没有问题来了,没有取得商标注册证书,可以开设加盟店吗?
《商业特许经营管理条例》第三条规定:商业特许经营,是指拥有注册商标、企业标志、专利、专有技术等经营资源的企业(特许人),以合同形式将其拥有的经营资源许可其他经营者使用,被特许人(加盟商)按照合同约定在统一的经营模式下开展经营,并向特许人支付特许经营费用的经营活动。企业以外的其他单位和个人不得作为特许人从事特许经营活动。
注册商标是构成特许经营的基本因素,是特许经营体系的基石!特许人在没有注册商标的情况下开展特许加盟,等于是给自己埋下一颗定时炸弹,因为即便是已经签订加盟合同,加盟商仍能以特许人没有注册商标为由,随时要求解除合同、退费赔偿,得不偿失。
由此可见,在商标没有成功注册下来的情况下,授权给加盟商使用是不合法的,因为商标本身还处于授权状态,没有正式得到注册。在上文的事件中,百宏盛公司如果没有正式注册“琉璃鲸”商标,提供的加盟合同则不成立,加盟商有权利要求其退还加盟费,但具体要看双方签订的合同。
其实并不是只有琉璃鲸存在这种问题,近年来茶饮行业商标抢注、侵权现象频繁发生,不仅消费者难以分辨,加盟商也是一头雾水,许多商标“正主”苦不堪言。我们在曾在之前的文章中谈到过目前市场上比较知名的网红茶如答案茶、皇茶等都在商标问题上吃过亏,详情可查看《因不重视商标保护,喜茶、鹿角巷、答案茶这些网红茶被山寨“吊打”》。
在餐饮行业,商标抢注、雷同现象不是个别现象,同时,由于侵权范围广、诉讼周期长等因素,企业维权仍存在较大难度。
根据美团点评2018年12月发布的《2019中国饮品行业趋势发展报告》,2018年我国茶饮市场全面爆发,截至2018年第三季度,全国现制茶饮门店数达到41万家,一年内增长74%。与此同时,商标侵权现象时有发生,但有效的维权很难。
以喜茶为例,其原名“皇茶”,由聂云宸在广东江门创立,但由于“皇茶”商标始终无法注册成功,在不受法律保护的情况下面临大批山寨门店困扰,因此在2016年被迫更名为“喜茶”并持续维权。天眼查显示,截至目前其商标侵权诉讼多达30余起。
此外,通过抖音走红的“答案茶”也由于商标抢注范围不同、涉及商标授权转让等问题,出现了多家主体争抢商标的情况。河南盟否网络科技有限公司、广州美西西餐饮管理有限公司、河南答案茶餐饮有限公司、广州鼎瑞餐饮管理有限公司等企业均声称自己拥有“答案茶”唯一合法商标。
商标具有唯一性和独占性,商标不注册,企业就没有商标的专用权。赛贝小编也要提醒大家,在加盟品牌时一定要注意商标问题,确认好对方确实拥有商标,千万不要在商标问题上吃了亏。
本文版权为赛贝知识产权平台(www.saibeiip.com)所有,转载请在显著位置注明来源。






刷新