紧急通知:接USPTO于2025-04-14日下发的公告,从2025-04-17日起暂停美国外观专利申请的加速审查业务,以解决激增560%的案件压力,以及微实体造假的问题。
云端知识产权大平台
您的位置:首页>知产百科>商标百科

居然有人注册了“乔碧萝”商标,这样的商标真的有价值吗?

发布日期:2019-08-29 作者:赛贝知识产权平台

大家还记得那个直播时“萝莉一秒变大妈”的乔碧萝殿下吗?7月25日她与人连麦直播时,表示只要有10万订阅就露脸,不料软件出现了bug,导致遮挡用的二次元图没显示,她的真实容貌被迫曝光,画面中显示这是一位皮肤黝黑的中年女士。直播间的粉丝纷纷大呼受骗,其中曾为其花费10万元,排在榜一的男粉丝一怒之下也注销账号消失了。


这起直播“事故”引发了网友们的热议和关注,30日,“乔碧萝殿下”在直播中承认,“露脸事件”为前期策划,面对如此恶意的营销,斗鱼官方终于表明了自己的态度:即日起永久封停“乔碧萝殿下”直播间,下架所有相关视频,并关闭主播个人鱼吧。


这还没完,官方也出手惩罚乔碧萝了。8月6日,中国演出行业协会网络表演分会官方微信公众号发布了《网络表演(直播)行业主播黑名单(第三批)》,“乔碧萝殿下”和另一引发网友争议的主播“红花会贝贝”名列黑名单中。


2


8月11号,央视网正式点名乔碧萝事件。不仅如此,通过乔碧萝事件看到了直播平台潜在的一些情况,打假也就成为了央视接下来的重点治理方向。而乔碧萝事件成为了打假的导火索,更是被称为直播领域的魑魅魍魉,可见,影响恶劣之深远。


官方出手,等于直接断了“乔碧萝殿下”的复播之路。


但是乔碧萝似乎并未受此影响,她在微博上更新的帖子越来越多,速度也是越来越快,前几日,乔碧萝得知自己的两个ID被人恶意抢注商标,商标公示期为三个月,乔碧萝直接怒斥这些人,表示会提出异议,给予申诉。


没想到乔奶奶还挺懂得维权的,为她点个赞!


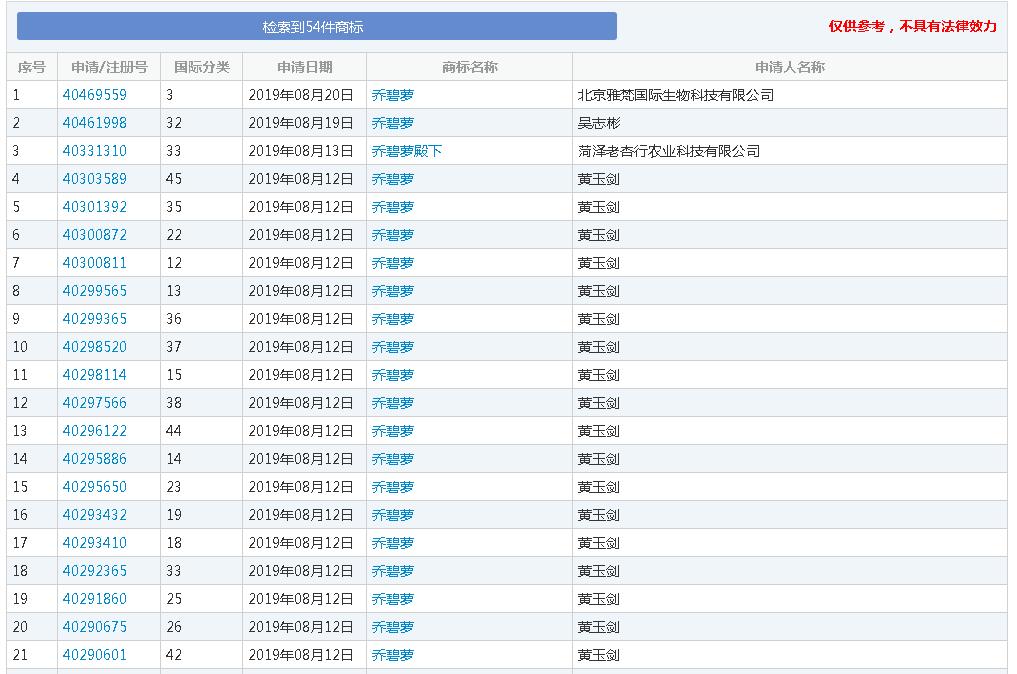
检索“乔碧萝”,可以得到54件商标结果,最早的一件是在2019年7月30日提交的,这正是“乔碧萝殿下”承认直播“露脸事件”并非事故,而是人为策划的时候,也是网友们对这件事议论情绪最高的时候。


3


在这54件商标中,有35件是一个名为黄玉剑的自然人申请注册的,其他少数掌握在一些企业和个体手中。


此外,通过商标查询可发现,“乔碧萝殿下”的商标申请也有6件,基本上都是在7月底至8月初的时候提交的。


1


前段时间,B站主播敬汉卿姓名被抢注商标一事博主圈掀起了一阵风波,许多知名网红博主的ID都被抢注了。其实抢注名人姓名或者ID在商标圈是一种非常常见的现象,不过“乔碧萝殿下”这个ID真的有商标注册的价值吗?


我们来看看影响商标价值的因素主要有哪些。


1、商标名称

商标首先是给人看的,如果没有好的视觉效果,其它做得再好也白搭。


2、商标类别

商标存在45类,有时候在名字相同的情况下,类别不同也会有不同的效果,因此名字起的再好,也要有类别作为基础支撑。


3、类别完整性

商标有很多类别都是相互关联的,称为相关类别。如果一个品牌在几个相关类别都注册了商标,就意味着该品牌在这一领域未来的发展前景可观,并降低了知识产权“阻碍”风险,价格也会相对单个类别的商标高一些。


4、名称的象征属性

商标名称的象征属性往往是商标价值的最大影响因素。经过长期使用获得一定名气商标,会为商标增加了不少的价值。


从以上几点来看,商标名称、商标类别以及类别完整性我们姑且都不论,单看商标名称的象征属性,“乔碧萝殿下”这个名称虽然有一定的热度,但是这种热度能够持续多久还不好说,而且通过前几次的事件,“乔碧萝殿下”基本已经被打上了“炒作”“不可信”等负面标签,用这样的名字注册商标,真的能起到想要的效果吗?


就目前的情况来看,“乔碧萝殿下”的热度还能维持多久还不好说,将“乔碧萝殿下”注册商标可能只有短期效应,风靡一阵过后就退隐江湖,况且商标注册申请一般需要1年左右时间,即使申请成功,该标识可能已光环褪尽,不再流行。


商标知名度和影响力的造就,更需要权利人长期的辛苦付出和诚实经营。申请人在商标的选择上可能有捷径可走,但在商誉积累上,则需要脚踏实地地长期耕耘。


本文版权为赛贝知识产权平台(www.saibeiip.com)所有,转载请在显著位置注明来源。


文章引导-文末+slogan-订阅号+名称ID-合成GIF

深圳市鼎言知识产权代理有限公司 版权所有
联系电话:18823759043   网站导航
Copyright © 2016 粤ICP备20057469号