昨日是10月24日,也是第三届全球程序员节。
说到程序员,我们首先想到的是什么?
码农?代码?油腻?发际线?格子衫?闷骚?木讷?不修边幅?

这些都是程序员的代表性特点,但是不可否认的是,程序员都非常忙碌,加班是他们的常态。针对这种情况,部分互联网机构倡议每年的10月24日为1024程序员节,在这一天建议程序员拒绝加班。
为什么选择10月24日呢?因为1024是2的十次方,二进制计数的基本计量单位之一,这也是程序员的一个常用数字,而且10月24日这个日期非常直观,也不会在平年和闰年有所变化。
每到10月24日,全国许多地方和机构开始举办1024程序员节,科大讯飞、金山云、华为云等企业都曾举办过该活动。
除了中国之外,别的国家也有程序员节,不过日期却不是10月24日。
2002年,俄罗斯程序员Valentin Balt收集签名,向俄罗斯联邦政府请愿将9月13日设定为程序员节。2009年9月11日,俄罗斯总统梅德韦杰夫在节日安排方案上签了名,“程序员节”从此成为了俄罗斯的一个正式节日。除了俄罗斯之外,其他国家的一些程序员社区也会庆祝这个节日。
近年来,随着大家对程序员工作的逐渐了解,程序员节也越来越受到关注,一些初创公司为了体现“人文关怀”也准备在这天早早让程序员们下班。虽然程序员节概念诞生时间并不算长,可每到10月24日,这个独属程序员们的节日氛围越来越浓了。
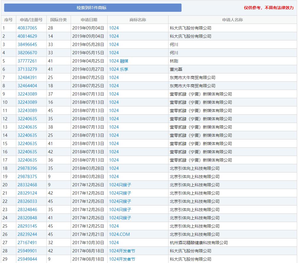
做为一名知识产权从业者,赛贝小编也怀着好奇心查询了一下“1024”商标注册情况。不查不知道,一查吓一跳,原来早就有很多企业和自然人早早就将“1024”注册商标了。
通过商标查询,可检索到81件与“1024”有关的商标,这些商标的申请人有企业如科大讯飞股份有限公司、壹零贰肆(宁夏)新媒体有限公司、北京引体向上科技有限公司、中国联合网络通信有限公司重庆市分公司、北京怡生乐居信息服务有限公司、北京拉勾网络技术有限公司等等。商标名称有“1024”、“1024只猴子”、“1024开发者节”、“1024 流量节”、“1024 程序员节”、“1024 码农节”等等。

最早一件“1024”商标是一个名为郑刚的自然人在2003年申请的,并于2005年8月28日注册成功,核准使用在第25类 服装; 针织服装; 大衣; 仿皮服装; 皮制服装; T恤衫; 内衣; 风衣; 羽绒服装; 袜; 手套(服装); 披肩; 领带; 头巾; 皮带(服饰用)等产品和服务上。

国内最早开始有“程序员节”这个概念应该是2014年,而最早一件将“1024”与程序员相关联的的商标则是微量网络科技(北京)有限公司在2014年11月14日申请注册的,商标名称为“1024 码农节”,微量科技公司一共提交了两件“1024 码农节”商标,商标类别分别是第38类和第42类。自那之后“1024”商标的申请才逐渐增多。

由此可见中国企业的商业嗅觉和知识产权敏感度还是挺高的。
虽然目前还有一些人对程序员这个职业带有一些刻板印象,但是随着近年来随着大家对程序员的逐渐了解,也开始理解他们的工作性质,也能透过现象看到他们的优秀,而在10月24日这一天,越来越多的机构和企业开始给程序员们打Call。我们也祝愿所有的程序员节日快乐。
本文版权为赛贝知识产权平台(www.saibeiip.com)所有,转载请在显著位置注明来源。






刷新