在电商行业,大佬们都喜欢以动物命名或者以动物作为网站吉祥物,比如天猫、考拉、蚂蚁金服、京东JOY狗、苏宁小狮子、QQ企鹅等等,网友们戏称电商圈要开动物园了。
而在电视圈,各大卫视则都喜欢以水果来命名,比如提到芒果台,大家都知道这是湖南卫视,而番茄台是东方卫视,蓝莓太则是浙江卫视。
电视台钟情于以水果命名台名,本无可厚非,亦是有助于电视台发展的行为。但是“同名”现象也接踵而来。江苏卫视与广东卫视就因为“荔枝”这一台名而闹出了同名的笑话。
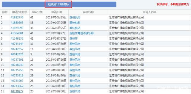
从2010年起,江苏卫视就启用了“荔枝台”的频道包装。目前,不仅其官网叫“荔枝网”,其网站下方的“荔枝视频”“荔枝新闻”等子栏目都与荔枝有关。同时,为了这些标识的合法性,江苏广播电台申请了各种带有“荔枝”字样的商标。
通过商标查询可发现,2014年4月至今,江苏省广播电视集团有限公司已经提交了193件与“荔枝”有关的商标,商标名称包含“荔枝网络台”、“荔枝网”、“荔枝电视”、“荔枝音”、“荔枝云”、“荔枝广场”、“荔枝 TV”等等。

而广东卫视也不甘示弱,在江苏卫视申请注册带有“荔枝”字样商标的一个月后,广东卫视也提交了一系列“荔枝”商标申请。
通过商标查询可发现,从2014年5月至今,广东广播电视台一共提交了41件与“荔枝”有关的商标注册申请,商标名称包含“荔枝台”、“荔枝台 WWW.GDTV.CN”、“荔枝财经”、“荔枝直播”、“荔枝妹”等。

一下子,出现了两个“荔枝网”,两个“荔枝台”,那么到底谁才是正宗的呢?谁能被商评委认可呢?
实际上,早在2014年,广东广播电视台上线官网“荔枝台”时就引起过争议。支持江苏卫视的网友认为名字应该是约定俗成、先到先得。而支持广东卫视的网友则认为江苏不产荔枝,并且广东台被官方正式使用的台标就是一颗荔枝,江苏台的台标只是形似荔枝。
正常情况下,荔枝因为是一个通用的名词,不具有显著性,是不能够被注册成商标的。但因为两家电视台注册的商标类别均和荔枝这一事物没有直接的联系,所以,这些荔枝相关的商标才可以通过审核。
事实上,对于“荔枝台”的争议,不仅仅存在于广东卫视与江苏卫视之间,集录制、编辑、存储、收听、分享于一体的网络电台荔枝FM也曾卷入其中。
经过检索发现,荔枝FM的运营主体公司广州荔支网络技术有限公司(下称荔支网络)自2014年1月至今,共申请注册了230件带有“荔枝”字样的商标,其中类别涵盖了第9类、38类、41类等多个类别。

围绕这一“荔枝”国内两大卫视似乎均不愿放手,而荔枝FM,在其中也一定会极尽可能地维护自己的权益。但就目前的形势来看,对于“荔枝”的使用这三方似乎仍然是“相敬如宾”的态度。但是在争抢收视率及流量的时代,相信之后围绕着“荔枝”这一主题,一定还会有更多的故事发生。






刷新