作为物联网行业的重要组成部分,近年来车联网得益于5G技术迭代,以及智能交通的发展而迅速崛起。各大巨头们也纷纷入场布局车联网领域。
5月18日,字节跳动正式组建车联网团队,计划推出自己的车辆信息娱乐系统方案,实现旗下抖音、今日头条等移动互联网产品在汽车终端落地。
2019年,华为成立智慧汽车解决方案BU(隶属于ICT管理委员会),以期在汽车市场上取得先机。今年4月,华为在其春季发布会上正式亮相了旗下车联网应用 HiCar 的车载演示,将手机与车机连接,可以完成手机多媒体在汽车上应用。
此外,百度、阿里、腾讯等也纷纷入局车联网领域。而小米也不甘落后,开始车联网领域的布局。
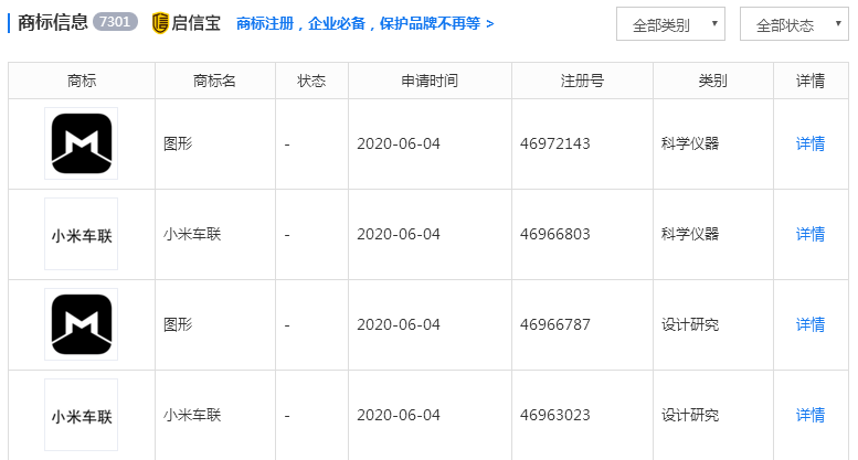
启信宝数据显示,小米科技有限责任公司已于 2020 年 6 月申请注册小米车联商标,同日还申请注册相关图形商标,两者国际分类皆为 9 类科学仪器、42 类设计研究。

与此事件一同发酵的是,6月28日,小米商城官方发布一张海报,海报中间有一个明显的汽车轮廓,并配文“认真说个事儿,明天有新品”。海报上的文案则是“造车?我们是认真的!”。

微博一出,网友们纷纷猜测小米是否是要造车。但是下午小米公关总经理徐洁云就紧急辟谣,称是同事抖错机灵了,造车没有的事。
目前,小米商城微博已删除该条微博,并对乌龙事件进行了解释。小米商城微博称,其实小米认真做的只是一辆智能遥控车,1:16比例复刻吉姆尼越野悍将形象。据其晒出的海报,该款汽车的零售价为199元。
不过,仅小米注册车联商标以及相关图形商标之事来看,是否侧面印证小米打算布局互联网汽车领域的想法?毕竟此前已有征兆显示小米在布局车联网领域。
今年4月17日,车联网公司博泰宣布获得小米集团的B轮战略投资。据了解,博泰将与小米在软件、硬件、语音多场景交互等方面进行全方位合作。当时博泰方面表示,双方将进行深度合作,“携手开拓车联网新时代”。
一位业内人士透露,小米确实已进入车联网领域。但不可否认的是,相对于华为的高调宣布并有产品、战略等陆续推出,小米的车联网之路属于刚刚起步。至于未来它会向哪里发展,想象空间依旧巨大。至少,在「万物互联」的场景下,小米绝不会放手。





刷新