自去年《偶像练习生》节目大火的蔡徐坤,8月2日刚刚过完20岁生日,却已有了几百万的粉丝群体,近日还正式成立了自己的个人工作室——新沂蔡徐坤影视文化工作室。果真是别人家的孩子的典型代表。
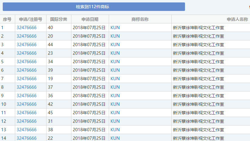
近日有细心的网友发现蔡徐坤工作室申请了112件商标,其中都是涉及蔡徐坤名字、名誉以及粉丝群体(IKUN)的,商标类别涉及40类、20类、38类、45类等多个类别,保护程度堪称完美。这些商标最早是在2018年7月3日提交申请,最晚是2018年7月25日。

近年来明星姓名商标被抢注的情况已经屡见不鲜。“林丹”牌饲料、 “孙杨”牌衬衫、“莫言”烧鸡、“叶诗文”泳衣、“林书豪”运动服等姓名商标,均在明星本人不知情的情况下悄悄被抢注,更有前段时间赛贝小编才报道过的梅西和C罗被抢注商标事件,具体可查看《C罗马桶梅西中药?搭便车用名人名字注册商标可能行不通》。
现如今,利用名人效应带来的利益越来越多。一些有商业头脑的人也趁机钻法律漏洞,企图在巨大商业利益中分得一杯羹,令人防不胜防。随着名人姓名被抢注时间的频发,娱乐圈越来越多的人开始意识到商标注册的重要性,也有了商标保护的意识,开始对自己的姓名进行各类商标注册和保护。
以贝克汉姆和“贝嫂”维多利亚为例,贝克汉姆夫妇不仅早已将自己的名字注册了商标,而且连家人的名字也都申请了商标注册。根据英国知识产权局的记录,维多利亚·贝克汉姆已经将女儿的名字哈珀·贝克汉姆注册为商标,用于化妆品、玩具以及服装等一系列品牌产品。这一商标也被注册用于娱乐产业,那么哈珀将来或许可以复制妈妈的流行歌手之路。
贝嫂还在英国知识产权局及欧盟公司登记了儿子布鲁克林、罗密欧以及克鲁兹的名字。也就是说,贝克汉姆的孩子们如今都是“贝克汉姆”品牌的组成部分。
与国外名人相比,国内名人尚缺少商标保护意识,根据此前媒体报道,刘德华、周杰伦、陈奕迅、范冰冰、刘诗诗、马云、赵本山等68人名字被抢注。
赛贝知识产权平台商标专家表示,作为一名公众人物,也要具备一定的自我权益保护意识,应当做好一些诸如备案、先行注册商标这样的保护措施,在有保护的前提,才有提起权利的依据。要有敏锐的意识,维护自己的权益,如果商标还未通过申请,利益相关人可提出异议,申请撤销,对于已经被抢注的姓名商标,应该主动出击,由被动变主动,严格保护好自身的合法利益。
本文版权为赛贝知识产权平台(www.saibeiip.com)所有,转载请在显著位置注明来源。





刷新